TM 9-3990-260-14&P
7-14.
STACKING/LOADING M3A1 CROP ON PLS TRUCK (CONT).
CAUTION
Ensure lifting device is positioned directly over center prior to lifting M3A1 CROP, Fail-
ure to comply may result in uneven lifting. Damage to equipment may result.
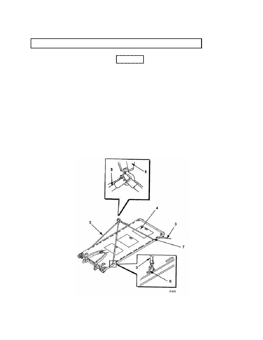
(7) Position lifting device (8) directly over center of M3A1 CROP to be lifted.
(8) Attach two web straps (3) to lifting device (8).
(9) Slowly lift M3A1 CROP, closely observing that it is disengaged from M3A1 CROP beneath.
With the aid of an assistant using web strap (3) on rear D-ring (7), lift and guide M3A1
CROP to position on ground.
(10) Remove two web straps (3) from lifting device (8).
(11) Remove three web straps (3) from four D-rings (6) and rear D-ring (7).
(12) Repeat Steps (3) through (11) for additional M3A1 CROPs being removed from stack.
(13) Stow all web straps (3) in stowage box (4) of the M3A1 CROP from which the straps were
originally removed.
7-22